
“Sai do sol!”
“Vem passar mais protetor!”
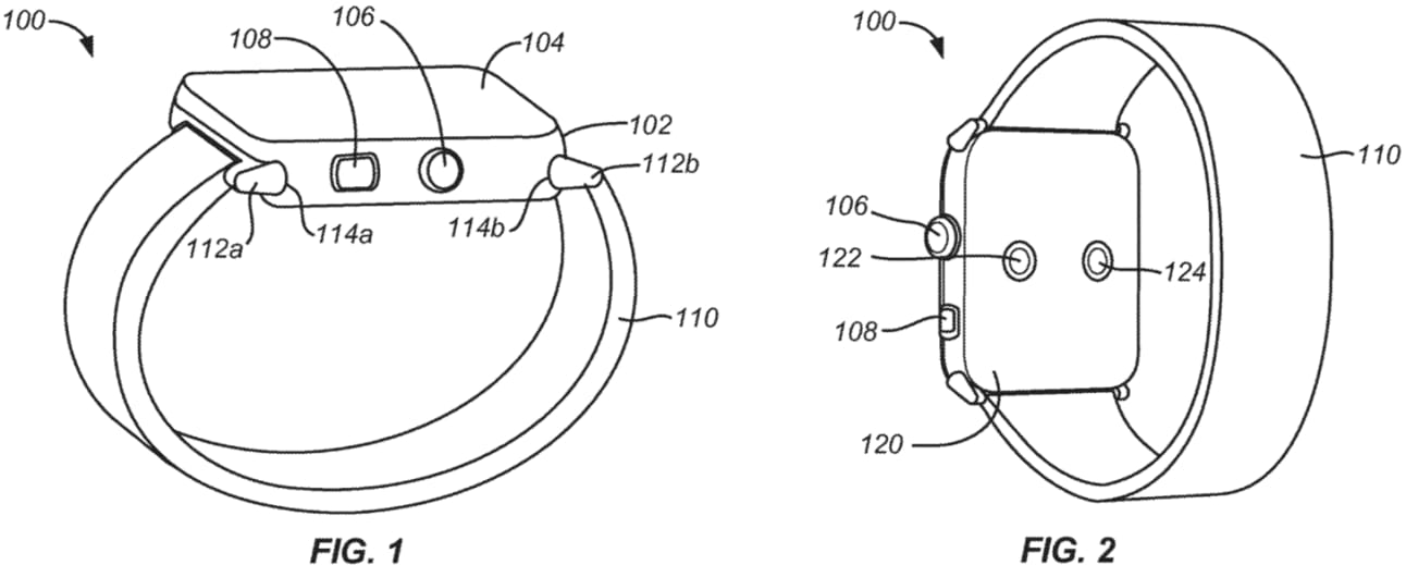
Fazendo o papel de mãe na praia e seguindo com a estratégia de equipar o Apple Watch cada vez mais com recursos ligados a saúde, a Apple registrou uma patente em dezembro que identifica e notifica excesso de exposição ao sol, seja por tempo ou por índices de UV elevados para que o usuário possa se proteger melhor indo para sombra ou aplicando mais filtro solar na pele.

Essa leitura seria possível com um acessório que se encaixa embaixo do relógio, com conexão na pulseira, permitindo assim que fosse utilizado em modelos sem precisar modificar o hardware do relógio.


Alternativa já disponível (app)
Se você quiser experimentar uma alternativa já, existe um app chamado Sun Risk que também monitora e notifica sobre altos índices de UV, sem precisar de acessório extra (porque usa dados online, como os de meteorologia).

Updater: Wagner Brenner